纱线前处理的加工形式分为绞纱、筒子(经轴)纱两种。
本节以棉筒子(经轴)纱为例来讲述其前处理。
(一)目的
用化学的和物理的方法去除各类杂质、精练提纯纤维素的过程。经过精练后,棉纱的吸湿性和白度均有所提高。
(二)精练用剂及作用
1.烧碱
2. 助剂
(1)表面活性剂;
(2)螯合剂。
(三)工艺实例
1. 处方
烧碱3g/L,有机络合剂1g/L,
渗透剂NFD 1g/L
2.工艺流程
(一)双氧水的性质及漂白原理
双氧水学名为过氧化氢(H202),是一种无色无味的液体,其氧化能力很强,对皮肤有烧灼感,特别是较浓的双氧水,使用中应注意安全。
H202不稳定,受光、热易分解放出氧气,甚至引起爆炸。弱酸性条件下比较稳定,碱性介质中分解速度加快。因此双氧水应在常温、弱酸条件下贮存于阴暗处。重金属离子及灰尘对H202的分解有催化作用。
(二)影响H202漂白的工艺条件分析
1.pH值:最佳pH值为10~11
2.温度:一般为100~110℃
3.时间
4.浓度
5.氧漂稳定剂
(三)工艺实例
1.纯棉非丝光纱前处理工艺
双氧水(27. 5 %) 0.5~5g/L
烧碱 2g/L
氧漂稳定剂 0.5~1g/L
精练剂 1g/L
络合剂 1g/L
2.纯棉丝光纱前处理工艺
双氧水(27. 5 %) 1~5g/L
烧碱 2~2.5g/L
氧漂稳定剂 0.8~1.2g/L
渗透剂 1g/L
络合剂 0.5g/L
(一)丝光概念
指棉纱线在紧张状态下,用浓的烧碱液或其他化学品处理,不仅使纱线的性能得到改善,而且还获得丝一般光泽的加工过程。
用丝光纱所织织物,手感柔软丰满,布面光洁,光泽好,可明显提高织物的档次。
丝光用剂以烧碱为主。
(二)丝光后棉纱性能的变化
光泽提高
吸附和化学反应性能提高
消除了纱线的内应力,提高了纤维的强力
(三)丝光工艺条件分析
1.碱液浓度:260~280g/L
2.碱液温度:低温较为有利
3.浸碱时间:120~150s
4.张力
5.去碱
(四)丝光设备
双臂式绞纱丝光机
染色是指染料从染液中自动地转移到纤维上,并在纤维上形成均匀、坚牢、鲜艳色泽的过程。
主要指标:
染色色泽的均匀性
染色牢度
鲜艳度
(一)染料和颜料
染料是指能溶于水或其他介质制成染液或分散液,对纤维有亲和力的有色的有机化合物。它主要用于纺织品的染色和印花。
颜料是指不溶于水且对纤维没有亲和力的有色物质。
(二)染料的分类
按应用分类有:直接染料、活性染料、还原染料、可溶性还原染料、硫化染料、不溶性偶氮染料、酸性染料、酸性媒染染料、酸性含媒染料、分散染料、阳离子染料等。
(三)染色过程
吸附:平衡上染百分率
扩散:决定了染料上染纤维的快慢,即染色速率,同时也决定了染色的匀染性。
固着
(四)染色方法
1.浸染
浴比是指被染物的质量与所用染液的体积之比。
染料浓度一般用染料质量对纤维质量的百分数表示。
2.轧染
(五)染色设备
1.绞纱染色机
(1)往复式染纱机
(2)喷射式染纱机
(3)液流式染纱机
(4)高温高压绞纱染色机
2.筒子纱染色机
3.经轴染纱机
4.连续染纱机(束式染纱机)
(六)染色牢度及色差
1.染色牢度:
是指染色制品在使用或染色后序加工中,染料受各种外界因素的影响能保持其原来色泽的能力(即不易褪色和变色的能力)。
2.色差:
是指两个颜色在颜色知觉上的差异。
(一)活性染料的染色
能溶于水,分子结构中含有一个或几个反应性基团(习惯称为活性基团),在适当条件下,能够与纤维素纤维中的羟基、蛋白质纤维及聚酰胺纤维中的氨基等发生反应而形成共价键结合,故活性染料也称为反应性染料。
特点:
①价格便宜、色泽鲜艳、色谱齐全、匀染性好、湿处理牢度优良。
②但某些染料的耐日晒、耐氯漂牢度较差,有些染料的耐气候牢度较低,另外,染料存在水解反应,导致其利用率低。
活性染料的染色原理
上染:染料上染百分率较低,但扩散性高,匀染性好。常加入中性电解质如元明粉进行促染。
固色:碱剂皂洗后处理
活性染料的染色工艺
一般采用一浴二步法
(二)还原染料的染色
不含水溶性基团,不能直接溶于水;
分子结构中具有两个或几个羰基;
染色时染料先在强还原剂和碱的作用下,使染料还原成为可溶性的隐色体钠盐,它对纤维素纤维有亲和力,能上染纤维,隐色体钠盐上染纤维后,再经过氧化,隐色 体恢复成为不溶状态的染料而固着在纤维上。
主要用于棉织物及涤棉混纺织物的染色。是纤维素纤维染色的一类十分重要的染料。
色泽鲜艳,色谱较全(红色品种较少,缺乏鲜艳的大红),各种牢度一般都比较高,尤其是耐晒、耐洗牢度为其他染料所不及。
商业名称:
(1)士林染料:耐晒牢度高;
(2)亚士林染料:耐晒牢度较差的。
(三)直接染料的染色
直接染料能溶于水,对纤维素纤维有较高的亲和力,不需要借助其他化学药剂就能够直接上染纤维素纤维,也可以在弱酸性或中性介质中上染蛋白质纤维和锦纶。
应用受到一定限制。
(一)酸性类染料染色
1.酸性染料的分类
(1)酸性染料:大都含有磺酸基团,易溶于水,在水溶液中电离成为染料阴离子,能在酸性、弱酸性或中性条件下直接上染蛋白质纤维或聚酰胺纤维。
(2)酸性媒染染料:常用的媒染剂是重铬酸盐。
(3)酸性含媒染料:常用1︰2型(中性染料)。
2.酸性染料染色原理
蛋白质纤维中既含有氨基又有羧基,所以在水溶液中兼有酸性和碱性,是典型的两性高分子物质。
染浴中加入酸后,氨基结合H+使纤维带正电荷,因而能吸引染料阴离子上染,两者以离子键结合。同时,纤维与染料间也存在着分子间引力如范德华力、氢键的作用。
(一)聚酯纤维的染色
1.纤维的结构特点:强疏水性纤维,吸湿性差,再加上结晶度高,无定形区结构比较紧密,大分子链取向度较高。
2.分散染料特点:是一类相对分子质量小、分子结构简单、不含水溶性基团的非离子型染料。
3.染色方法
高温高压染色法:是指将涤纶纱置于盛有染液的密闭容器中,在120~130ºC,196.4kPa(2kgf/cm2)的条件下进行染色。
(1)载体染色法
(2)热溶染色法
(二)聚丙烯腈纤维的染色
1.纤维的结构特点:三种单体共聚而成,第一单体为丙烯腈,含量在85%以上,是纤维的主体;第二单体为丙烯酸甲酯、甲基丙烯酸甲酯、醋酸乙烯酯等;第三单体为衣康酸钠、丙烯磺酸钠等。
2.阳离子染料:是一种水溶性染料,在水溶液中能电离,生成色素阳离子,故称之为阳离子染料。阳离子染料是腈纶染色的主要染料,其色谱齐全、色泽鲜艳、给色量高,耐晒牢度及耐洗牢度高,但匀染性较差。
(三)聚酰胺纤维的染色
常用的是锦纶66和锦纶6。锦纶分子中也同时含有氨基和羧基,具有两性性质。
染色性能优良,在酸性介质中带正电荷,常用弱酸性染料或中性染料染色;在碱性介质中带负电荷,可用阳离子染料染色。锦纶是疏水性纤维,可用疏水性的分散染料染色;纤维中含有反应性基团,也可用活性染料染色。
(一)混纺纱线染色需注意问题
1.染料的选择
2.染色温度
3.染浴pH值
4.助剂的作用
(二)纤维素纤维混纺纱线的染色
1.涤棉(T/C)混纺纱的染色:需用两种染料染两种纤维,如分散与活性染料、分散与还原染料,两浴法或一浴法染色工艺。
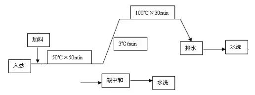
分散染料染色(60℃入染,1℃/min升温至130℃保温30min)→水洗→还原染料染色(55℃,20min)→冷水洗→H202氧化(50℃,10min)→50℃水洗→皂洗(95℃,10min)→水洗→脱水烘干
2.棉/锦纶混纺纱的染色
3.腈/棉混纺纱的染色
4.大豆蛋白纤维/棉混纺纱的染色
5.毛棉(或粘)混纺纱的染色
(三)蛋白质纤维混纺纱线的染色
1.毛涤混纺纱的染色
采取较低温度的载体染色法,两浴染色或一浴法染色,用醋酸调pH=4.5~5。
2.毛腈混纺纱的染色
3.毛锦混纺纱的染色
4.绢丝和棉混纺纱的染色
来源:针织工业

1.本着“开放、协作、分享”的互联网精神,我们欢迎各方自媒体、传统媒体与机构,转载、引用染化在线的原创内容,但必须注明来源自染化在线网,否则我们将依法追究侵权责任。
2.原则上,我们同意在注明出处的前提下,各方使用染化在线的原创素材(图片、视频等)。
3.染化在线网尊重各方知识产权,保护原创作者的合法权益。如发现本站文章存在版权问题,请联系微信rhzxzjf,我们将及时核查、处理。